Cómo sería el próximo reloj inteligente con pantalla plegable diseñado por Apple
Sitios especializados informaron que la compañía estadounidense está trabajando en un nuevo diseño de Smartwach. Conocé los detalles.

Luego de la presentación de las gafas 'Vision Pro', anunciadas en las conferencias WWDC 2023, Apple ya está trabajando en su próximo dispositivo tecnológico. Según información de sitios especializados, la compañía estadounidense centró sus trabajos en un reloj inteligente con pantalla plegable.
Hasta el momento, las pantallas plegables solamente habían sido utilizadas en celulares y otros equipos híbridos. Sin embargo, comenzó a rumorearse la información de que Apple planea aplicar esta característica sobre un Smartwatch, el cual tendrá la capacidad de doblar el cristal.

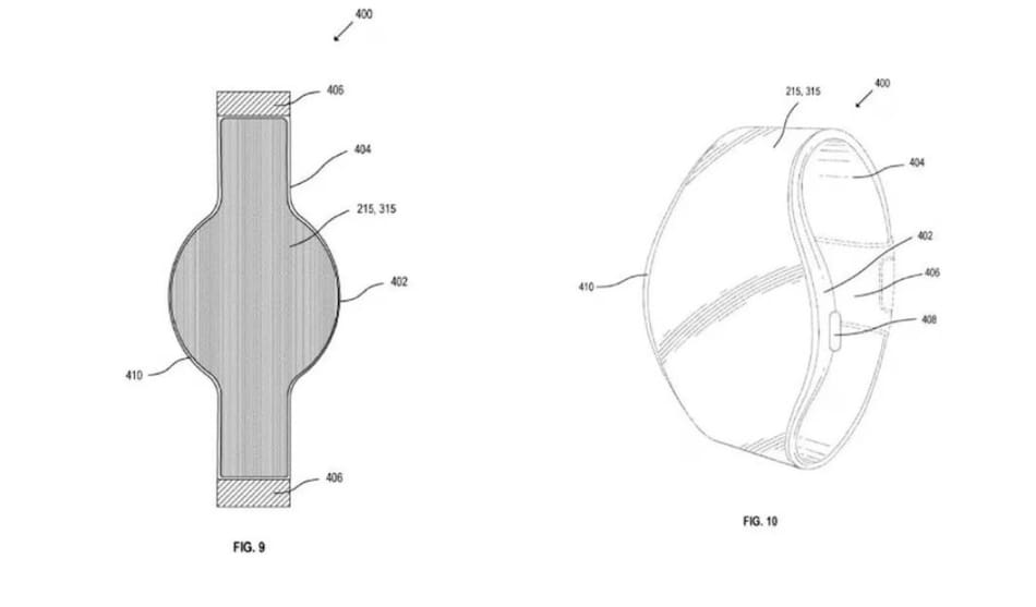
El diseño del nuevo reloj inteligente con pantalla plegable, de Apple. Foto: UPSTO.
Según el sitio 'Apple Insider', el reloj tendría una banda de visualización envolvente. En las imágenes compartidas, se puede apreciar que el display plegable permite al Smartwach tener más espacio, estirándose más allá de los margenes habituales de los últimos Apple Watch.
También podría interesarte
A diferencia de Samsung, la compañía de la manzana mordida todavía no se aventuró en el rubro de celulares plegables, a pesar de los miles de rumores que refieren a un iPhone plegable o iPad, con dichas características tecnológicas.

El Ipad plegable que había anticipado Apple en enero de 2023. Foto: Reuters.
De esta manera, el rumor de la noticia que se viralizó en diferentes sitios especializados, debe ser tomado con pinzas. Sin embargo, las patentes son fuentes ideales para espiar qué tienen en mente las empresas para sus pasos a futuro.
Por su parte, 'Phone Arena', un página dedicada a las últimas informaciones tecnológicas, señaló que, en caso de existir la planificación de un reloj inteligente con pantalla plegable, es muy probable que la misma esté recién en su fase de desarrollo y diseño.















